 |
|
04.03.2013, 21:31
|
#1
|
|
Moderator
Реєстрація: 15.05.2006
Звідки Ви: Днепр
Дописи: 8.585
сказав Дякую: 2.773
сказали Дякую 5.289 раз(и) в 2.715 повідомленні
|
Re: +Светильники, Крышки, Инкубаторы, Фильтры по вашему заказу . Украина ===www.aquaforum.ua===
Крышка на аквариум своими руками
Часть первая. Проектирование крышки на аквариум и нарезка заготовок.
Приступая к изготовлению крышки для аквариума, впрочем как и любого другого изделия, необходимо четко понимать, что, как и из чего мы будем строить. Для того, чтобы потом не было «мучительно больно», нужно определиться с основными геометрическими и электрическими параметрами будущей крышки:
габаритные размеры крышки, как правило это внешние размеры аквариума с учетом толщины стекол, дополнительные 2- 3 мм на посадку добавляются позже, в процессе производства;
глубину посадки светильника на аквариум, из эстетических соображений мы рекомендуем глубину достаточную для того, чтобы перекрыть на 0,5 – 1 см стандартный уровень воды в аквариуме;
общую высоту светильника, при выборе которой необходимо учитывать два фактора:
минимальный размер необходимый для размещения ламп / отражателей, в зависимости от типа ламп;
увеличение общей высоты светильника визуально «утяжеляет» конструкцию, делает крышку эстетически более «массивной».
расположение отсека для электроники, возможно внутреннее , внешнее и отдельное;
конструктив крышки, т.е. цельная или с открывающейся половиной;
расположение и габариты отверстий для шлангов и проводов, лючка для кормления, выключателей, проводов подключения крышки к сети 220 В;
наличие дополнительного оборудования, такого как вентиляторы, ночная подсветка, таймеры и т.п.;
тип и количество ламп. Необходимо отметить, что лампы Т5 типа обладают ощутимо большей мощностью и светопотоком при тех же размерах что и Т8 лампы, но существенно дороже. Правильнее, на наш взгляд, подходить к выбору ламп исходя из того, сколько в конечном счете мощности нужно получить, возможно оптимальнее будут Т5 лампы или 2G11 лампы, а возможно выйдет получить необходимый уровень освещенности используя бюджетные Т8 лампы;
установка, возможность в будущем до установить отражатели.
продолжение...
__________________
Аquaritm.com.ua
изготовление светильников, выносок, отсадников, фильтров и т.п. тел. KS 067 567 12 50 / МТС 095 858 15 01 Александр.
__________________ 
|
|
|
|
cказали "Дякую" red1157 за цей допис:
|
|
06.03.2013, 16:18
|
#2
|
|
Moderator
Реєстрація: 15.05.2006
Звідки Ви: Днепр
Дописи: 8.585
сказав Дякую: 2.773
сказали Дякую 5.289 раз(и) в 2.715 повідомленні
|
Re: +Светильники, Крышки, Инкубаторы, Фильтры по вашему заказу . Украина ===www.aquaforum.ua===
Крышка на аквариум своими руками. Часть вторая.
Опубликовано 06/03/2013 от Александр в Все статьи, Материалы и технологии { Редактировать }
Часть вторая. Сборка корпуса крышки для аквариума.
Перед тем, как начать сборку крышки необходимо очистить все заготовки от стружки и прочего мусора, для этого достаточно хорошо протереть все детали хб -шной тряпочкой, кстати нам так же понадобится еще одна, не большая, тряпочка для вытирания клея. Итак, детали нарезаны, протерты от стружки и разложены на столе, начинаем!
В начале клеим длинные борта к половинкам спины крышки. Приложите борт к половинке спинки и максимально точно отметьте размеры, подрежьте борт, чтобы его длина максимально точно соответствовала длине крышки (если будет чуть больше — не беда, а вот если меньше — плохо, нужно будет делать новый борт). Нанесите равномерный ряд не больших точек макетного клея Cosmofen CA12 по самому краю половинки спины крышки и как можно точнее приставьте борт, сожмите на 2 — 3 секунды, готово. Отгибая борт в сторону нанесите пунктир из макетного клея еще см на 15 — 20 вдоль торца спины крышки — сопоставьте борт и прижмите. Повторяя эту операцию приклейте борт до конца спины крышки. Обратите внимание, на то, что V образный вырез широкой стороной должен быть на противоположной борту стороне. Повторите эти действия для второй половины спины крышки и второго длинного борта. На фото ниже представлен сам процесс и то, что должно получится в результате.
Продолжение...
__________________
Аquaritm.com.ua
изготовление светильников, выносок, отсадников, фильтров и т.п. тел. KS 067 567 12 50 / МТС 095 858 15 01 Александр.
__________________ 
|
|
|
09.03.2013, 15:46
|
#3
|
|
Moderator
Реєстрація: 15.05.2006
Звідки Ви: Днепр
Дописи: 8.585
сказав Дякую: 2.773
сказали Дякую 5.289 раз(и) в 2.715 повідомленні
|
Re: +Светильники, Крышки, Инкубаторы, Фильтры по вашему заказу . Украина ===www.aquaforum.ua===
Корпус для акваконтроллера
__________________
Аquaritm.com.ua
изготовление светильников, выносок, отсадников, фильтров и т.п. тел. KS 067 567 12 50 / МТС 095 858 15 01 Александр.
__________________ 
|
|
|
|
cказали "Дякую" red1157 за цей допис:
|
|
11.03.2013, 19:21
|
#4
|
|
Moderator
Реєстрація: 15.05.2006
Звідки Ви: Днепр
Дописи: 8.585
сказав Дякую: 2.773
сказали Дякую 5.289 раз(и) в 2.715 повідомленні
|
Re: +Светильники, Крышки, Инкубаторы, Фильтры по вашему заказу . Украина ===www.aquaforum.ua===
Технические характеристики крышки:
предназначена для прямоугольного аквариума размерами 1200х400;
установлена электроника на 2 лампы Т5 типа по 54 Вт каждая;
лючок для кормления;
отверстия для проводов и шлангов на задней части крышки;
выключатели для ламп.
__________________
Аquaritm.com.ua
изготовление светильников, выносок, отсадников, фильтров и т.п. тел. KS 067 567 12 50 / МТС 095 858 15 01 Александр.
__________________ 
Востаннє редагував red1157: 11.03.2013 о 19:59..
|
|
|
16.03.2013, 18:48
|
#5
|
|
Moderator
Реєстрація: 15.05.2006
Звідки Ви: Днепр
Дописи: 8.585
сказав Дякую: 2.773
сказали Дякую 5.289 раз(и) в 2.715 повідомленні
|
Re: +Светильники, Крышки, Инкубаторы, Фильтры по вашему заказу . Украина ===www.aquaforum.ua===
Технические характеристики крышки:
предназначена для прямоугольного аквариума размерами 1200х400;
установлена электроника на 4 лампы Т5 типа по 54 Вт каждая;
два 80 мм кулера с блоком питания;
лючок для кормления;
отверстия для проводов и шлангов на задней части крышки;
ночная светодиодная подсветка с регулировкой яркости;
выключатели для ламп и кулеров.
__________________
Аquaritm.com.ua
изготовление светильников, выносок, отсадников, фильтров и т.п. тел. KS 067 567 12 50 / МТС 095 858 15 01 Александр.
__________________ 
|
|
|
|
cказали "Дякую" red1157 за цей допис:
|
|
17.03.2013, 15:27
|
#6
|
|
Moderator
Реєстрація: 15.05.2006
Звідки Ви: Днепр
Дописи: 8.585
сказав Дякую: 2.773
сказали Дякую 5.289 раз(и) в 2.715 повідомленні
|
Re: +Светильники, Крышки, Инкубаторы, Фильтры по вашему заказу . Украина ===www.aquaforum.ua===
Продолжаем продолжать!
Крышка на аквариум своими руками. Часть третья.
Опубликовано 16/03/2013 от Александр в Все статьи, Материалы и технологии { Редактировать }
Часть третья. Монтаж электроники аквариумной крышки.
Итак корпус крышки готов и мы можем начинать монтаж ламп и ЭПРА, но сначала необходимо разметить места и приклеить площадки для крепления ламподержателей. Собственно ничего сложного, отмечаем места установки на корпусе крышки, склеиваем плашки и приклеиваем их на отмеченные места. Так же необходимо отметить габариты ламп.
Фото №1. Разметка ламподержателей и габаритов ламп.
Продолжение...
__________________
Аquaritm.com.ua
изготовление светильников, выносок, отсадников, фильтров и т.п. тел. KS 067 567 12 50 / МТС 095 858 15 01 Александр.
__________________ 
|
|
|
18.03.2013, 22:19
|
#7
|
|
Moderator
Реєстрація: 15.05.2006
Звідки Ви: Днепр
Дописи: 8.585
сказав Дякую: 2.773
сказали Дякую 5.289 раз(и) в 2.715 повідомленні
|
Re: +Светильники, Крышки, Инкубаторы, Фильтры по вашему заказу . Украина ===www.aquaforum.ua===
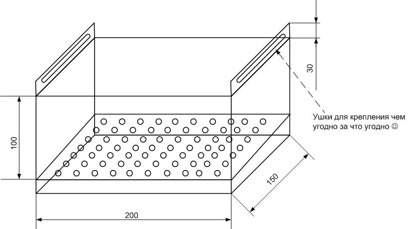
Инкубатор для артемии 150х100х250:
__________________
Аquaritm.com.ua
изготовление светильников, выносок, отсадников, фильтров и т.п. тел. KS 067 567 12 50 / МТС 095 858 15 01 Александр.
__________________ 
|
|
|
20.03.2013, 15:54
|
#8
|
|
Moderator
Реєстрація: 15.05.2006
Звідки Ви: Днепр
Дописи: 8.585
сказав Дякую: 2.773
сказали Дякую 5.289 раз(и) в 2.715 повідомленні
|
Re: +Светильники, Крышки, Инкубаторы, Фильтры по вашему заказу . Украина ===www.aquaforum.ua===
Технические характеристики крышки:
предназначена для прямоугольного аквариума размерами 1200х400;
установлена электроника на 4 лампы Т5 типа по 54 Вт каждая;
два 80 мм кулера с блоком питания;
лючок для кормления;
отверстия для проводов и шлангов на задней части крышки;
выключатели для ламп и кулеров.
__________________
Аquaritm.com.ua
изготовление светильников, выносок, отсадников, фильтров и т.п. тел. KS 067 567 12 50 / МТС 095 858 15 01 Александр.
__________________ 
|
|
|
21.03.2013, 11:38
|
#9
|
|
Moderator
Реєстрація: 15.05.2006
Звідки Ви: Днепр
Дописи: 8.585
сказав Дякую: 2.773
сказали Дякую 5.289 раз(и) в 2.715 повідомленні
|
Re: +Светильники, Крышки, Инкубаторы, Фильтры по вашему заказу . Украина ===www.aquaforum.ua===
Технические характеристики крышки:
предназначена для прямоугольного аквариума размерами 1000х400;
установлена электроника на 4 лампы Т5 типа по 39 Вт каждая;
два 80 мм кулера с блоком питания;
лючок для кормления;
отверстия для проводов и шлангов на задней части крышки;
выключатели для ламп и кулеров.
__________________
Аquaritm.com.ua
изготовление светильников, выносок, отсадников, фильтров и т.п. тел. KS 067 567 12 50 / МТС 095 858 15 01 Александр.
__________________ 
|
|
|
23.03.2013, 18:25
|
#10
|
|
Moderator
Реєстрація: 15.05.2006
Звідки Ви: Днепр
Дописи: 8.585
сказав Дякую: 2.773
сказали Дякую 5.289 раз(и) в 2.715 повідомленні
|
Re: +Светильники, Крышки, Инкубаторы, Фильтры по вашему заказу . Украина ===www.aquaforum.ua===
Биофильтр размером 1250х185х150
__________________
Аquaritm.com.ua
изготовление светильников, выносок, отсадников, фильтров и т.п. тел. KS 067 567 12 50 / МТС 095 858 15 01 Александр.
__________________ 
|
|
|
27.03.2013, 11:59
|
#11
|
|
Moderator
Реєстрація: 15.05.2006
Звідки Ви: Днепр
Дописи: 8.585
сказав Дякую: 2.773
сказали Дякую 5.289 раз(и) в 2.715 повідомленні
|
Re: +Светильники, Крышки, Инкубаторы, Фильтры по вашему заказу . Украина ===www.aquaforum.ua===
Технические характеристики крышки:
предназначена для прямоугольного аквариума размерами 800х350;
установлена электроника на 4 лампы Т5 типа по 24 Вт каждая;
лючок для кормления;
отверстия для проводов и шлангов на задней части крышки;
выключатели для ламп и кулеров.
__________________
Аquaritm.com.ua
изготовление светильников, выносок, отсадников, фильтров и т.п. тел. KS 067 567 12 50 / МТС 095 858 15 01 Александр.
__________________ 
|
|
|
29.03.2013, 19:08
|
#12
|
|
Moderator
Реєстрація: 15.05.2006
Звідки Ви: Днепр
Дописи: 8.585
сказав Дякую: 2.773
сказали Дякую 5.289 раз(и) в 2.715 повідомленні
|
Re: +Светильники, Крышки, Инкубаторы, Фильтры по вашему заказу . Украина ===www.aquaforum.ua===
Основные функции выполняемые защитным кожухом:
предотвращение случайных ударов и повреждений корпуса обогревателя о стенки аквариума, грунт, декорации;
предупреждает контакт обогревателя с материалом аквариума (стекло или акрил) во избежание повреждений этого материала;
предотвращает контакты рыбы с обогревателем, тем самым защищая аквариумную рыбу от ожогов покровов.
__________________
Аquaritm.com.ua
изготовление светильников, выносок, отсадников, фильтров и т.п. тел. KS 067 567 12 50 / МТС 095 858 15 01 Александр.
__________________ 
|
|
|
30.03.2013, 17:27
|
#13
|
|
Moderator
Реєстрація: 15.05.2006
Звідки Ви: Днепр
Дописи: 8.585
сказав Дякую: 2.773
сказали Дякую 5.289 раз(и) в 2.715 повідомленні
|
Re: +Светильники, Крышки, Инкубаторы, Фильтры по вашему заказу . Украина ===www.aquaforum.ua===
Технические характеристики крышки:
предназначена для прямоугольного аквариума размерами 1200х400;
установлена электроника на 4 лампы Т5 типа по 54 Вт каждая;
два 80 мм кулера;
лючок для кормления;
отверстия для проводов и шлангов на задней части крышки;
выключатели для ламп и кулеров.
__________________
Аquaritm.com.ua
изготовление светильников, выносок, отсадников, фильтров и т.п. тел. KS 067 567 12 50 / МТС 095 858 15 01 Александр.
__________________ 
|
|
|
31.03.2013, 18:25
|
#14
|
|
Moderator
Реєстрація: 15.05.2006
Звідки Ви: Днепр
Дописи: 8.585
сказав Дякую: 2.773
сказали Дякую 5.289 раз(и) в 2.715 повідомленні
|
Re: +Светильники, Крышки, Инкубаторы, Фильтры по вашему заказу . Украина ===www.aquaforum.ua===
Дописал последнюю часть мануала по крышкам:
Крышка на аквариум своими руками. Часть четвертая.
Часть четвертая. Оклейка крышки пленкой. Окончательная сборка.
Начинаем подготовку крышки аквариума к оклейке пленкой.
Первым делом необходимо удалить излишки и выступающие части бортов, удобнее всего это делать все тем же макетным ножом. Расположите крышку так, чтобы вам было удобно резать и плавным, ровным резом уберите излишки со всех сторон крышки.
С помощью шлиф машины зашлифуйте все клеевые швы, чтобы между разными частями крышки шов не ощущался пальцем, иначе клеевой шов будет виден под пленкой.
После шлифовки необходимо удалить всю пыль и прочие загрязнения с внешней поверхности крышки. Делается это чистой хлопчатобумажной тканью. Если крышка наэлектризована — протрите ее влажной тряпкой, заряд пропадет.
Последняя стадия подготовки к оклейке пленки — удаление царапин и вмятин с поверхности пластика крышки для аквариума, образуются они во время монтажа электрики да и на самом листе пластика изначально могут быть не большие повреждения, это все не беда. Все царапины и вмятинки устраняются с помощью промышленного фена. Включите первый режим и установите температуру фена чуть выше средней, после чего плавными, круговыми движениями выровняйте все вмятинки и царапины, под воздействием фена они просто выровняются и чудесным образом исчезнут .
На этом процесс подготовки крышки к оклейке завершен, все выше описанные операции показаны на фото ниже.
Фото №1. Шлифовка торцов. продолжение...
__________________
Аquaritm.com.ua
изготовление светильников, выносок, отсадников, фильтров и т.п. тел. KS 067 567 12 50 / МТС 095 858 15 01 Александр.
__________________ 
|
|
|
01.04.2013, 20:36
|
#15
|
|
Moderator
Реєстрація: 15.05.2006
Звідки Ви: Днепр
Дописи: 8.585
сказав Дякую: 2.773
сказали Дякую 5.289 раз(и) в 2.715 повідомленні
|
Re: +Светильники, Крышки, Инкубаторы, Фильтры по вашему заказу . Украина ===www.aquaforum.ua===
Технические характеристики крышки:
предназначена для аквариума размерами 800×340;
лючок для кормления;
отверстия для проводов и шлангов на задней части крышки;
отсек для размещения ЭПРА;
__________________
Аquaritm.com.ua
изготовление светильников, выносок, отсадников, фильтров и т.п. тел. KS 067 567 12 50 / МТС 095 858 15 01 Александр.
__________________ 
|
|
|
 |
|
|
Тут присутні: 1 (учасників - 0 , гостей - 1)
|
|
|
Ваші права у розділі
|
Ви не можете створювати теми
Ви не можете писати дописи
Ви не можете долучати файли
Ви не можете редагувати дописи
HTML код Вимк.
|
|
|
Часовий пояс GMT +3. Поточний час: 02:15.
|