 |
|
11.04.2014, 16:46
|
#1
|
|
Живу я тут
Реєстрація: 23.09.2013
Звідки Ви: Николаев
Дописи: 413
сказав Дякую: 24
сказали Дякую 61 раз(и) в 55 повідомленні
|
Помогите спланировать. ===www.aquaforum.ua===
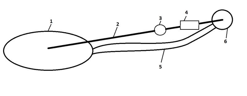
Решил заняться расчетами по организации пруда, уж очень запали мне ваши фотки  Хотелось бы узнать во что выльются в денежном эквиваленте мои планы. На фото приблизительный план сего удовольствия, подскажите что нужно для этого объема, какая гидроизоляция, фильтр, наполнитель, лампа, какая помпа, ну и все остальное о чем я не подозревал.
дополнение к рисунку:
1 - пруд, приблизительные размеры 7х4х1.5(1.8)
2 - труба для фильтрации
3 - насос (какой?)
4 - фильтр (какой, или как самому сделать?)
5 - мини речка размерами до одного метра в ширину, глубина до 0,5 метра, хочу для более эффективной биофильтрации засыпать керамзитом, или чем-то другим. Еще посоветуйте где посадить растения которые тоже в качестве фильтра работать будут и какие, может на каком-то участке речки вместо керамзита насыпать грунта и засадить?
6 - мини водопад, или фонтан, еще не определился что лучше.
Жду ваших советов 
|
|
|
11.04.2014, 19:15
|
#2
|
|
Живу я тут
Реєстрація: 23.09.2013
Звідки Ви: Николаев
Дописи: 413
сказав Дякую: 24
сказали Дякую 61 раз(и) в 55 повідомленні
|
Re: Помогите спланировать. ===www.aquaforum.ua===
И еще одно, какое население потянет такой пруд, и хватит ли такой глубины для зимовки в николаевской обл.?
|
|
|
11.04.2014, 20:37
|
#3
|
|
Живу я тут
Реєстрація: 07.09.2012
Звідки Ви: Киев
Дописи: 388
сказав Дякую: 120
сказали Дякую 142 раз(и) в 100 повідомленні
|
Re: Помогите спланировать. ===www.aquaforum.ua===
Если бУджетно то вы уже нарисовали на пятёрку американских денег.
|
|
|
11.04.2014, 22:16
|
#4
|
|
Живу я тут
Реєстрація: 23.09.2013
Звідки Ви: Николаев
Дописи: 413
сказав Дякую: 24
сказали Дякую 61 раз(и) в 55 повідомленні
|
Re: Помогите спланировать. ===www.aquaforum.ua===
Что означает "бюджетно"? Это в смысле что-бы хоть как-то работало, или будет полноценная система? Просто все статейки на форуме написаны лет 10 назад, ну или я не нашел нужной инфы, скажите пожалуйста поконкретней какое оборудование мне для этого нужно, ну или где поконкретней это почитать?
|
|
|
11.04.2014, 22:49
|
#5
|
|
Живу я тут
Реєстрація: 08.01.2011
Звідки Ви: звiдси
Дописи: 431
сказав Дякую: 165
сказали Дякую 341 раз(и) в 135 повідомленні
|
Re: Помогите спланировать. ===www.aquaforum.ua===
Цитата:
Допис від smart85
Решил заняться расчетами Хотелось бы узнать во что выльются в денежном эквиваленте мои планы.
Жду ваших советов 
|
Вам легче сказать сколько можете выделить "эквивалента" и вам скажут - "да" или "нет"
__________________
Поступайте с другими людьми так, как хотите, чтобы они поступали с вами.
|
|
|
11.04.2014, 23:13
|
#6
|
|
Живу я тут
Реєстрація: 23.09.2013
Звідки Ви: Николаев
Дописи: 413
сказав Дякую: 24
сказали Дякую 61 раз(и) в 55 повідомленні
|
Re: Помогите спланировать. ===www.aquaforum.ua===
Можно конечно и до пяти дотянуть, но при условии что я буду уверен что все будет работать как положено и они не потрачены на что-то ненужное в этой системе, потому что в магазинах насоветовать много могут, а к вам обратился за опытом, а именно что-бы посоветовали действительно необходимое оборудование.
|
|
|
11.04.2014, 23:51
|
#7
|
|
Живу я тут
Реєстрація: 23.09.2013
Звідки Ви: Николаев
Дописи: 413
сказав Дякую: 24
сказали Дякую 61 раз(и) в 55 повідомленні
|
Re: Помогите спланировать. ===www.aquaforum.ua===
Хотя честно говоря жаба давит такие деньги вкладывать в пруд, но и с другой стороны очень хочется проводить вечера у пруда с шашлычком под журчание водички  К тому же я не спрашиваю "да" или "нет", я спросил что надо для этого, потому как я точно займусь этим(хотя с другой стороны с нынешней ситуацией в стране не знаешь чего будут стоить твои деньги на следующее утро!) Так что просветите пожалуйста что и к чему.
|
|
|
11.04.2014, 23:56
|
#8
|
|
Живу я тут
Реєстрація: 07.09.2012
Звідки Ви: Киев
Дописи: 388
сказав Дякую: 120
сказали Дякую 142 раз(и) в 100 повідомленні
|
Re: Помогите спланировать. ===www.aquaforum.ua===
http://koipark.com/smeta
Хоть порядок цен будете знать.
У меня лужа за домом на 10 кубов очень бюджетная, уже кажется за штуку завалила.
|
|
|
12.04.2014, 00:02
|
#9
|
|
Живу я тут
Реєстрація: 08.01.2011
Звідки Ви: звiдси
Дописи: 431
сказав Дякую: 165
сказали Дякую 341 раз(и) в 135 повідомленні
|
Re: Помогите спланировать. ===www.aquaforum.ua===
0,5 глубины речка, канал или ручей? Добавлю еще пару вещиц к списку - аэратор и природный камень который будете использовать для береговой линии, а это дело тоже денег затянет.
__________________
Поступайте с другими людьми так, как хотите, чтобы они поступали с вами.
|
|
|
12.04.2014, 00:10
|
#10
|
|
Живу я тут
Реєстрація: 23.09.2013
Звідки Ви: Николаев
Дописи: 413
сказав Дякую: 24
сказали Дякую 61 раз(и) в 55 повідомленні
|
Re: Помогите спланировать. ===www.aquaforum.ua===
А где мне узнать сколько нужно биоматериала, производительность насоса, какой материал для гидроизоляции моего объема выбрать? Может хоть скажете какую статейку или книгу прочитать раз уж вам некогда расписывать мне что да как?
|
|
|
12.04.2014, 00:14
|
#11
|
|
Живу я тут
Реєстрація: 07.09.2012
Звідки Ви: Киев
Дописи: 388
сказав Дякую: 120
сказали Дякую 142 раз(и) в 100 повідомленні
|
Re: Помогите спланировать. ===www.aquaforum.ua===
Там где ссылку кинул там и почитайте, этот раздел форума можете почитать желательно весь.
|
|
|
12.04.2014, 00:16
|
#12
|
|
Живу я тут
Реєстрація: 08.01.2011
Звідки Ви: звiдси
Дописи: 431
сказав Дякую: 165
сказали Дякую 341 раз(и) в 135 повідомленні
|
Re: Помогите спланировать. ===www.aquaforum.ua===
действительно для создание сметы нужны более плотные консультации непосредственно на самом участке учитывая его возможные особенности и конечно же время...так сразу реально не набросаешь..тем более народ уже на " выходных"
думаю потихоньку соберете инфу.
__________________
Поступайте с другими людьми так, как хотите, чтобы они поступали с вами.
|
|
|
12.04.2014, 00:23
|
#13
|
|
Moderator
Реєстрація: 05.07.2012
Звідки Ви: Харьков
Дописи: 4.615
сказав Дякую: 2.820
сказали Дякую 4.118 раз(и) в 1.817 повідомленні
|
Re: Помогите спланировать. ===www.aquaforum.ua===
7х4х1.8=50,4 плюс речка 5-10 кубиков , если с заводью и камышами .
итого 60 кубов . насос нужен минимум 20 кубов , а с учетом подачи 30 , что бы речка шириною в метр хоть как то шевелилась . Для пробы , Вам лучше брать пленку , бетон рановато , для первого раза ... лампу уф хотя бы 110 , лучше две !!! речка мелкая , прогреется мигом , лампа хоть зеленку будет сдерживать .
Четкое понимание СЕВЕР - ЮГ по расположению . Ну и весь джентельменский набор , донники , трубы , скимер , воздух , перелив , и .........
__________________
Если вдруг вы стали для кого-то плохим, значит много хорошего было сделано для этого человека!!!
__________________ 
|
|
|
12.04.2014, 00:27
|
#14
|
|
Живу я тут
Реєстрація: 23.09.2013
Звідки Ви: Николаев
Дописи: 413
сказав Дякую: 24
сказали Дякую 61 раз(и) в 55 повідомленні
|
Re: Помогите спланировать. ===www.aquaforum.ua===
Цитата:
Допис від Fish"ka
0,5 глубины речка, канал или ручей? Добавлю еще пару вещиц к списку - аэратор и природный камень который будете использовать для береговой линии, а это дело тоже денег затянет.
|
Не о.5, а до 0.5 (чего-чего, а керамзита мне насыпят сколько попрошу  ) ) просто подумал что для фильтрации это не будет лишним, а вы уж поправьте если неправильно. С камнем тоже допустим шара(не учитывая цену бензина!!!), был на шашлыках в марьиной роще, так там присмотрел запас на 10 таких прудов, только из водички доставай и грузи в прицеп, а с друзьями и под пиво так вообще шикарный отдых от моих рабочих будней!  Если-бы я платил в этой жизни за все что можно сделать самому, то наверно даже аквариум не смог-бы себе позволить!!! Так что жду еще советов по организации! Какой кстати аэратор нужен? Очень у вас мало информации по прудам, серьезно... В аквариумном отделе все расписано до мелочей, а здесь половина ссылок не работает уже 
|
|
|
12.04.2014, 00:31
|
#15
|
|
Живу я тут
Реєстрація: 07.09.2012
Звідки Ви: Киев
Дописи: 388
сказав Дякую: 120
сказали Дякую 142 раз(и) в 100 повідомленні
|
Re: Помогите спланировать. ===www.aquaforum.ua===
Камень........керамзит  я тоже пару лет назад был такой наивный 
|
|
|
|
Ці 2 користувач(ів) сказали Дякую ручейник за це повідомлення:
|
|
 |
|
|
Тут присутні: 1 (учасників - 0 , гостей - 1)
|
|
|
Ваші права у розділі
|
Ви не можете створювати теми
Ви не можете писати дописи
Ви не можете долучати файли
Ви не можете редагувати дописи
HTML код Вимк.
|
|
|
Часовий пояс GMT +3. Поточний час: 20:49.
|