 |
|
29.10.2010, 17:34
|
#46
|
|
Житомирский клуб аквариумистов
Реєстрація: 11.10.2009
Звідки Ви: Житомир
Дописи: 1.064
сказав Дякую: 183
сказали Дякую 363 раз(и) в 238 повідомленні
|
Re: Ремонт ЭПРА ===www.aquaforum.ua===
Цитата:
Допис від McSiemens
afniko, ДОБРЫЙ ДЕНЬ!ДАЙТЕ ПОЖАЛУЙСТА КОНКРЕТНЫЙ ОТВЕТ: ПРИ СХЕМЕ ПОДКЛЮЧЕНИЯ КАК В ПОЕМ ПОСТЕ #32 КАКОЙ НОМИНАЛ РЕЗИСТОРА НУЖЕН (ВТ И ОМ),ИХ КОЛИЧЕСТВО И ТИП СОЕДИНЕНИЯ.В ИДЕАЛЕ ЕСЛИ НЕ ТРУДНО НАБРОСАЙТЕ СХЕМУ.СПАСИБО!
|
Пост №32 - мой.
Если правильно вас понял то речи шла о посте №31.
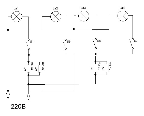
Мощность резистора 5Вт. Номинал 10Ом. Схема ниже.
Для начала проверьте номиналы резистора купив их только два и собрав половину схемы. Проверяйте на самом худшем режиме: Соберите схему, включите оба выключателя и после - вилку в розетку, если светятся значит все гуд. Только не нужно, во время проведения эксперимента, часто вынимать и вставлять вилку в розетку, а то из розетки вылезет дядя Ток и надает трындюлей.  Шутка, просто никакая лампочка не любит частых выключений и включений. И не бойтесь ничего из за этой доработки с вашими ЭПРАми не случится. Самое страшное что может произойти так это сгорят резисторы.
__________________
Аквариумная химия - удобрения, тесты, реминирализация осмоса.
|
|
|
|
cказали "Дякую" afniko за цей допис:
|
|
29.10.2010, 18:24
|
#47
|
|
Придивляюся
Реєстрація: 15.05.2010
Звідки Ви: Алчевск
Дописи: 23
сказав Дякую: 33
сказали Дякую 5 раз(и) в 4 повідомленні
|
Re: Ремонт ЭПРА ===www.aquaforum.ua===
Спасибо,я немного не внимателен оказался...
__________________ 
|
|
|
31.10.2010, 23:26
|
#48
|
|
Придивляюся
Реєстрація: 25.09.2010
Звідки Ви: Казатин
Дописи: 37
сказав Дякую: 10
сказали Дякую 4 раз(и) в 3 повідомленні
|
Re: Ремонт ЭПРА ===www.aquaforum.ua===
Цитата:
Допис від afniko
Мощность резистора 5Вт. Номинал 10Ом.
|
А примерно на какую мощность ламп росщитано 5 Ом?
Нагрев резисторов в нормальном установившемся режиме работы какой?
Проблем с запуском не возникает из-за уменьшеного накала?
|
|
|
01.11.2010, 00:17
|
#49
|
|
Житомирский клуб аквариумистов
Реєстрація: 11.10.2009
Звідки Ви: Житомир
Дописи: 1.064
сказав Дякую: 183
сказали Дякую 363 раз(и) в 238 повідомленні
|
Re: Ремонт ЭПРА ===www.aquaforum.ua===
Цитата:
Допис від Sheef
А примерно на какую мощность ламп росщитано 5 Ом?
|
Тут больше эмпирический подход. Мне неизвестно какой ток в момент пуска. Поэтому не могу и провести расчет. Хотя если задаться целью, узнать какая емкость установлена в лампах той или иной мощности то можно посчитать и ток. Пробовал сгорел резистор -значит большой номинал, ставил меньше и так пока не добился результата. Для этого и рекомендую доп резисторы соединять параллельно в таком случае увеличивается их мощность.
У меня стояло два по 2,75Ом на ЭПРУ 2х30Вт и еще два по 2,75Ом на две энергосберегалки по 26Вт.
Цитата:
Допис від Sheef
Нагрев резисторов в нормальном установившемся режиме работы какой?
|
Нагрев в нормальном режиме можно легко рассчитать.
Допустим мощность лампы 18Вт.
Напряжение сети 220В.
В таком случае ток в цепи будет (пренебрежем сопротивлением дополнительного резистора) 18 деленное на 220 и равно 0,082А.
Так как резистор стоит последовательно в цепи то через него так же протекает этот ток 0,082А. Теперь зная ток протекающий через резистор и номинал резистора посчитаем мощность выделяемую на нем: 0,082А. возведем в квадрат и умножим на номинал сопротивления 5Ом получим 0,0335Вт. Напомню что мощность резистора 5 Вт.
Ответ: Нагрев абсолютно незначительный.
Цитата:
Допис від Sheef
Проблем с запуском не возникает из-за уменьшеного накала?
|
Прогрев нитей накала для ламп вещь не такая и важная, ну не то что бы не важная, но не главная. Главное напряжение пробоя лампы это когда "проскакивает разряд" между полюсами лампы.
__________________
Аквариумная химия - удобрения, тесты, реминирализация осмоса.
|
|
|
01.11.2010, 01:11
|
#50
|
|
Придивляюся
Реєстрація: 25.09.2010
Звідки Ви: Казатин
Дописи: 37
сказав Дякую: 10
сказали Дякую 4 раз(и) в 3 повідомленні
|
Re: Ремонт ЭПРА ===www.aquaforum.ua===
Почему спросил за нагрев: просто зачем использовать такой мощности резистор если на нем рассевается такая малая мощность? Згорают слабшие резисторы в момент старта???
Насчет накала, сколько видел ламп енергоэкономок и люминисцентных то у них пробой наступает задолго до полного нагрева!
Ради интереса мерял сопротивление нитей накала при температуре 23 градуса то было примерно 8 Ом.
А в первый момент включения конденсатор и нити накала идут через диодный мост, если ток накала можна посчитать + ток конденсатора стремится до бесконечности, так выходит в первый момент включения ток ограничен диодным мостом, а как их считать не панятна( Фактически дополнительное сопротивления и диоды немного защищает. Попадались мне ЭПРи из пробитыми 2 диодами. Приятно в соседей набрать кучю не нужных им дохлых ламп и себе сделать пару штук)))
|
|
|
01.11.2010, 20:14
|
#51
|
|
Житомирский клуб аквариумистов
Реєстрація: 11.10.2009
Звідки Ви: Житомир
Дописи: 1.064
сказав Дякую: 183
сказали Дякую 363 раз(и) в 238 повідомленні
|
Re: Ремонт ЭПРА ===www.aquaforum.ua===
Sheef, да резисторы сгорают в момент старта.
Идея ваша хорошая, но не новая. Я когда то закупился на базаре сгоревшими энергосберегалками - так сразу удалось починить две трети без особых затрат и еще одна треть пошла на запчасти к первым двум. 
__________________
Аквариумная химия - удобрения, тесты, реминирализация осмоса.
|
|
|
02.11.2010, 06:01
|
#52
|
|
Придивляюся
Реєстрація: 25.09.2010
Звідки Ви: Казатин
Дописи: 37
сказав Дякую: 10
сказали Дякую 4 раз(и) в 3 повідомленні
|
Re: Ремонт ЭПРА ===www.aquaforum.ua===
В энергосберегающих лампах часто сгорает одна нить накала, так не пробывали заменить накал резистором аналогичного сопротивления, тоже самое для ЭПРА с люминесцентными лампами. Мною не рас проверено что лампа запускаетса и нормально работает с одной нитью накала, а с двумя сгоревшими нет(
Такая теория возникла но на практике руки не доходят проверить =)
|
|
|
02.11.2010, 22:59
|
#53
|
|
Житомирский клуб аквариумистов
Реєстрація: 11.10.2009
Звідки Ви: Житомир
Дописи: 1.064
сказав Дякую: 183
сказали Дякую 363 раз(и) в 238 повідомленні
|
Re: Ремонт ЭПРА ===www.aquaforum.ua===
Цитата:
Допис від Sheef
В энергосберегающих лампах часто сгорает одна нить накала, так не пробывали заменить накал резистором аналогичного сопротивления, тоже самое для ЭПРА с люминесцентными лампами. Мною не рас проверено что лампа запускаетса и нормально работает с одной нитью накала, а с двумя сгоревшими нет(
Такая теория возникла но на практике руки не доходят проверить =)
|
Теория правильная и даже можно поступить проще - перегоревшую нить просто закорачивают и работает. А вот с двумя перегоревшими сложнее, но ничего невозможного нет - можно засветить (но сложнее).
__________________
Аквариумная химия - удобрения, тесты, реминирализация осмоса.
|
|
|
04.11.2010, 17:29
|
#54
|
|
Придивляюся
Реєстрація: 25.09.2010
Звідки Ви: Казатин
Дописи: 37
сказав Дякую: 10
сказали Дякую 4 раз(и) в 3 повідомленні
|
Re: Ремонт ЭПРА ===www.aquaforum.ua===
Цитата:
Допис від afniko
Теория правильная и даже можно поступить проще - перегоревшую нить просто закорачивают и работает. А вот с двумя перегоревшими сложнее, но ничего невозможного нет - можно засветить (но сложнее).
|
При закорачивани у меня сгорела ЭПРА, у второй закороченой до этого не довел. Перед сгоранием начинала мерцать, проверял на энергоекономках Делюкс.
Если в ламп обе спирали сгорели так запускал только в том случяе если нити не были совсем струшены, тоисть висит целая по длине спираль но с одной стороны.
|
|
|
04.11.2010, 22:13
|
#55
|
|
Житомирский клуб аквариумистов
Реєстрація: 11.10.2009
Звідки Ви: Житомир
Дописи: 1.064
сказав Дякую: 183
сказали Дякую 363 раз(и) в 238 повідомленні
|
Re: Ремонт ЭПРА ===www.aquaforum.ua===
Цитата:
Допис від Sheef
При закорачивани у меня сгорела ЭПРА, у второй закороченой до этого не довел. Перед сгоранием начинала мерцать, проверял на энергоекономках Делюкс.
Если в ламп обе спирали сгорели так запускал только в том случяе если нити не были совсем струшены, тоисть висит целая по длине спираль но с одной стороны.
|
Если сгорела значит закорачивали не те выводы.
При правильном закорачивании максимум что может случиться не будет светиться лампа.
А вот если хотите засветить при сгоревших обоих спиралях это вообще отдельная тема.
__________________
Аквариумная химия - удобрения, тесты, реминирализация осмоса.
|
|
|
06.11.2010, 06:48
|
#56
|
|
Придивляюся
Реєстрація: 25.09.2010
Звідки Ви: Казатин
Дописи: 37
сказав Дякую: 10
сказали Дякую 4 раз(и) в 3 повідомленні
|
Re: Ремонт ЭПРА ===www.aquaforum.ua===
Еслиб не те выводы закоротил так она б срасуже сгорела и не светилась, а так она погорела часок, перегрелась, а потом накрылась, что именно не стал смотреть поскольку ЭПРи лишнее были. Может такая разновидность схемы такие методы упрощения не переносит, потому и подумал про замену нити накала на резистор
А схемы для сгоревших ламп по принципу умножителя и подобные мне не нравятса из-за большого энергопотребления( И если спирали погорели знач она не маленький срок отработала, не стоит забывать что со временем мощность светового потока падает, стоит ли ее использовать... (Хотя я б использовал до последнего)
|
|
|
06.11.2010, 11:24
|
#57
|
|
Житомирский клуб аквариумистов
Реєстрація: 11.10.2009
Звідки Ви: Житомир
Дописи: 1.064
сказав Дякую: 183
сказали Дякую 363 раз(и) в 238 повідомленні
|
Re: Ремонт ЭПРА ===www.aquaforum.ua===
Цитата:
Допис від Sheef
Еслиб не те выводы закоротил так она б срасуже сгорела и не светилась, а так она погорела часок, перегрелась, а потом накрылась, что именно не стал смотреть поскольку ЭПРи лишнее были. Может такая разновидность схемы такие методы упрощения не переносит, потому и подумал про замену нити накала на резистор 
|
Трудно сказать что именно сгорело второй раз - возможно вторая спираль? Но то что резистор не поможет это факт - он там не к чему.
Цитата:
Допис від Sheef
А схемы для сгоревших ламп по принципу умножителя и подобные мне не нравятса из-за большого энергопотребления( И если спирали погорели знач она не маленький срок отработала, не стоит забывать что со временем мощность светового потока падает, стоит ли ее использовать... (Хотя я б использовал до последнего)
|
Согласен на 100%. Это как выход из положения для вечного освещения подвалов или таких помещений где люди постоянно не работают. Либо аварийного освещения.
__________________
Аквариумная химия - удобрения, тесты, реминирализация осмоса.
|
|
|
07.11.2010, 23:03
|
#58
|
|
Придивляюся
Реєстрація: 25.09.2010
Звідки Ви: Казатин
Дописи: 37
сказав Дякую: 10
сказали Дякую 4 раз(и) в 3 повідомленні
|
Re: Ремонт ЭПРА ===www.aquaforum.ua===
Цитата:
Допис від afniko
Трудно сказать что именно сгорело второй раз - возможно вторая спираль? Но то что резистор не поможет это факт - он там не к чему.
|
Не спираль вторая точьно, сильно вся лампа перегревалась и схема в том числе, потом пфук и схема черная.
Вот и я подумал что просто закоротить без резистора, в итоге +час жизни). Мне дали пару энергоекономок дохлых, не было возможности сравнить с аналогичьно нормально рабочей лампой по яркости света.
А в схемах питания ЭПРА последовательно через спирали не запитуетса?
|
|
|
07.11.2010, 23:41
|
#59
|
|
Житомирский клуб аквариумистов
Реєстрація: 11.10.2009
Звідки Ви: Житомир
Дописи: 1.064
сказав Дякую: 183
сказали Дякую 363 раз(и) в 238 повідомленні
|
Re: Ремонт ЭПРА ===www.aquaforum.ua===
Sheef, по видимости у вас были дешевые энергосберегалки. И ЭПРА сгорела бы и так. Сам принцип включения спиралей даже в расчет не берет сопротивление спиралей. Спирали так включены исключительно для их разогрева в процессе пуска.
__________________
Аквариумная химия - удобрения, тесты, реминирализация осмоса.
|
|
|
08.11.2010, 02:45
|
#60
|
|
Придивляюся
Реєстрація: 25.09.2010
Звідки Ви: Казатин
Дописи: 37
сказав Дякую: 10
сказали Дякую 4 раз(и) в 3 повідомленні
|
Відповідь: Ремонт ЭПРА ===www.aquaforum.ua===
Энергосберегалки делюксовские 18Вт, я им не доверяю, а с 4 штук у всех проблемы со спиралями были. Пока с них месяц успешно использую ЭПРу с 15Вт люминисцентной лампой, запитую схему последовательно через лампу накала 15Вт 55В. Пока ЭПРа из временным светом справляетса, зеленое болото розвиваетса 
|
|
|
 |
|
|
Тут присутні: 1 (учасників - 0 , гостей - 1)
|
|
|
Ваші права у розділі
|
Ви не можете створювати теми
Ви не можете писати дописи
Ви не можете долучати файли
Ви не можете редагувати дописи
HTML код Вимк.
|
|
|
Часовий пояс GMT +3. Поточний час: 17:37.
|